上 海 正 源 实 业 有 限 公 司

KLIXON®

美国德州仪器一级专业代理商

传感控制器:销售与技术支持

产品导航
热保护器
(小型)
热保护器
电流温度双重
温控开关
(敞开式)
突跳式
温控开关
直流电机
保护器
温度保险
(熔断丝)
产品应用 熔断器 固态
继电器
  主页   公司简介 产品介绍   联系方式 上海正源网址

 

温度和电流控制器
--产品系列 (一)
温度熔断丝 -系列

 田村TAM温度保险丝

温度保险丝(轴向型)

K-F系列
T-F系列
V-F系列
Y-F系列
Y9A高温型
L-F系列
LE系列

温度保险丝(径向型)

N-F系列
H-F系列
E-F系列
HU-F系列
  点击这里回到首页
温度和电流控制器

--产品系列 (二)
热保护器 -系列
电流温度双重保护器 -系列
温度开关(开放式)-系列
突跳式温控开关 -系列
温度熔断丝 -系列
热保护器的产品应用
  上海正源实业有限公司是其
  一级专业代理商 (
有授权书
KLIXON ®  联系我们:

电话:   021-  54560423 

            64457980、64734520

传真:   021- 64734520
经理手机:  13003155936 
上海市茂名南路133弄5号

peter@zyelectric.com.cn

(电子邮箱-1): 陈经理

sun@zyelectric.com.cn

(电子邮箱-2): 孙小姐
    产品首页热保护器的应用 温度保险丝 田村TAM 温度保险丝 HU-F 系列

田村温度熔断保险丝   (日本)

断开温度范围: 65℃~145℃
   额定电流2A~3A(250VAC
   额定电压
250Vac
       尺寸长度是 11毫米。
产品特点:
温度保险丝也叫做温度熔断器。温度保险丝溶断后,即使周边温度下降,也不会再导通。
具有卓越的热灵敏度。
用途:电吹风、变压器、电动机、电器设备、饮水机、咖啡壶、电熨斗、电饭锅、电炉、等等。
不含有铅(Pb)和镉(Cd),符合RoHS环保标准。
不含有非常高的关注度物质(SVHC)所指定的REACH物质。
安全规格認定 UL 、C-UL、VDE、CCC、PSE、KC

  (田村  TAM) 温度保险丝

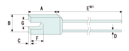
HU -F 系列  产品尺寸图

单位: mm

A B C D
11 ±0.1 6.7 ±0.1 2.5 0.55 ±0.05
E F G
36±3.0(HUF)
68±3.0(HUF-L)
 
4.6±0.2 3.2±0.1
易熔合金 特殊树脂 绝缘壳 密封材料 导线
           HU-F 系列  额定表
品名 额定动作温度
Tf ℃
动作温度
额定电流
A
额定电压
V
保持温度
Th℃
极限温度
Tm℃
HU06F 65 61±3 2.5 AC250 50 200
HU0F 76 72±3 2.5 AC250 50 200
3.0 AC125 50 200
HU1F 86 81±2 2.5 AC250 60 200
3.0 AC125 60 200
HU2F 102 98±3 3.0 AC250 75 200
3.5 AC125 65 200
4.0 DC50 60 200
HU3F 115 111±2 3.0 AC250 95 200
3.5 AC125 90 200
4.0 DC50 90 200
HU4F 127 123±2 3.0 AC250 100 200
3.5 AC125 95 200
4.0 DC50 95 200
H13F 133 129±3 3.0 AC250 100 200
3.5 AC125 95 200
4.0 DC50 90 200
HU5F 136 131±2 3.0 AC250 100 200
3.5 AC125 95 200
4.0 DC50 90 200
HU6F 139 134±2 2.5 AC250 110 200
3.5 AC125 105 200
4.0 DC50 100 200
HU7F 145 140±2 2.0 AC250 115 200
3.5 AC125 110 200
     

 

      产品首页KILXON ® 联系我们
         上海正源实业有限公司>>> 美国德州仪器公司一级专业代理商 ( 有授权书 )

联系我们:

TEL(电话):  021-  54560423 、64457980    FAX(传真): 
  021- 64734520
                                64734520  、64482182

                                              陈经理手机):  13003155936

电子邮件地址:
E-mail

电子邮箱 -1:  陈经理   peter@zyelectric.com.cn   
电子邮箱 -2 :  孙小姐    sun@zyelectric.com.cn

                                在线联系(QQ)

吴先生  QQ :   231595676
电子邮箱 -3 :  吴工    wu@zyelectric.com.cn

                                         公司地址:

  上海市茂名南路 133 5 号    邮编: 200020

                                               网址:   

   http:/www.zyelectric.com.cn/